
联系我们
与泰克代表实时聊天。 工作时间:上午 9:00 - 下午 5:00(太平洋标准时间)。
致电我们
工作时间:上午9:00-下午5:00(太平洋标准时间)
下载
下载手册、产品技术资料、软件等:
反馈
Bit Error Rate Tester
BERTScope® BSA Series Datasheet
泰克对于本技术资料上的产品不再有售。
查看 Tektronix Encore 了解翻新测试设备。
查看这些产品的支持和保修状态。

The BERTScope Bit Error Rate Tester Series provides a new approach to signal integrity measurements of serial data systems. Perform bit error rate detection more quickly, accurately, and thoroughly by bridging eye diagram analysis with BER pattern generation. The BERTScope Bit Error Rate Tester Series enable you to easily isolate problematic bit and pattern sequences, then analyze further with advanced error analysis that deliver unprecedented statistical measurement depth.
Notice to EU customers
This product is not updated to comply with the RoHS 2 Directive 2011/65/EU and will not be shipped to the EU. Customers may be able to purchase products from inventory that were placed on the EU market prior to July 22, 2017 until supplies are depleted. Tektronix is committed to helping you with your solution needs. Please contact your local sales representative for further assistance or to determine if alternative product(s) are available. Tektronix will continue service to the end of worldwide support life.
Key performance specifications
- Pattern Generation and Error Analysis, High-speed BER Measurements up to 28.6 Gb/s
- Fast Input Rise Time / High Input Bandwidth Error Detector for Accurate Signal Integrity Analysis
- Physical Layer Test Suite with Mask Testing, Jitter Peak, BER Contour, and Q-factor Analysis for Comprehensive Testing with Standard or User-defined Libraries of Jitter Tolerance Templates
- Integrated Eye Diagram Analysis with BER Correlation
- Optional Jitter Map Comprehensive Jitter Decomposition - with Long Pattern (i.e. PRBS-31) Jitter
- Patented Error Location Analysis™ enables Rapid Understanding of your BER Performance Limitations and Assess Deterministic versus Random Errors, Perform Detailed Pattern-dependent Error Analysis, Perform Error Burst Analysis, or Error-free Interval Analysis
Key features
- Integrated, calibrated stress generation to address the stressed receiver sensitivity and clock recovery jitter tolerance test requirements for a wide range of standards
- Sinusoidal jitter to 100 MHz
- Random jitter
- Bounded, uncorrelated jitter
- Sinusoidal interference
- Spread spectrum clocking
- PCIe 2.0 & 3.0 receiver testing
- F/2 jitter generation for 8xFC and 10GBASE-KR testing
- IEEE802.3ba & 32G fibre channel testing
- Electrical stressed eye testing for
- PCI express
- 10/40/100 Gb Ethernet
- SFP+/SFI
- OIF/CEI
- Fibre channel (FC8, FC16, FC32)
- SATA
- USB 3.1
- InfiniBand (SDR, QDR, FDR, EDR)
- Tolerance compliance template testing with margin testing
- Integrated eye diagram analysis with BER correlation
Applications
- Design verification including signal integrity, jitter, and timing analysis
- Design characterization for high-speed, sophisticated designs
- Certification testing of serial data streams and high performance Networking systems
- Design/Verification of high-speed I/O components and systems
- Signal integrity analysis – mask testing, jitter peak, BER contour, jitter map, and q-factor analysis
- Design/Verification of optical transceivers
Linking domains
Eye diagrams have always provided an easy and intuitive view of digital performance. It has been harder to tie this directly with BER performance, as the instruments that provide views of each have been architected in fundamentally different ways. Eye diagrams have been composed of shallow amounts of data that have not easily uncovered rarer events. BERTs have counted every bit and so have provided measurements based on vastly deeper data sets, but have lacked the intuitive presentation of information to aid troubleshooting.

The BERTScope removes this gap allowing you to quickly and easily view an eye diagram based on at least two orders of magnitude more data than conventional eyes. Seeing a feature that looks out of the ordinary, you are able to place cursors on the item of interest and by simply moving the sampling point of the BERT, use the powerful error analysis capabilities to gain more insight into the feature of interest. For example, check for pattern sensitivity of the latest rising edges. Alternatively, use one-button measurement of BER Contour to see whether performance issues are bounded or likely to cause critical failures in the field. In each case, information is readily available to enhance modeling or aid troubleshooting, and is available for patterns up to 231- 1 PRBS.
Data rich eye diagrams
As shown previously, there is an impressive difference in data depth between conventional eye diagrams and those taken with a BERTScope. So what does that mean? It means that you see more of what is really going on - more of the world of low-probability events that is present every time you run a long pattern through a dispersive system of any kind, have random noise or random jitter from a VCO - a world that is waiting to catch you out when your design is deployed. Adding to this the deeper knowledge that comes from the one-button measurements of BER Contour, Jitter Peak, and Q-factor, and you can be confident that you are seeing the complete picture.

The BERTScope shown with optical units enabled. In this example measurements are converted to the optical domain automatically.
Deep mask testing
With the ability to vary sample depth, it is very easy to move between deep measurements which give a more accurate view of the real system performance, and shallow measurements that match those of a sampling oscilloscope. The measurements shown below are from the eye diagram of an optical transmitter. With the BERTScope sample depth set to only 3000 waveforms, the BERTScope generates the diagram shown in the middle in only 1 second. The measured mask margin of 20% exactly correlates to the same measurement made on a sampling oscilloscope. The lower diagram shows the eye produced by the same device, using Compliance Contour measured at a BER of 1×10-6. Here the mask margin is reduced to 17%.

The depth advantage gained for eye diagrams is at least 10 times greater for mask testing. Unlike pseudo-mask testing offered by some BERTs, a BERTScope mask test samples every point on the perimeter of an industry-standard mask, including the regions above and below the eye. Not only that, but each point is tested to a depth unseen before. This means that even for a test lasting a few seconds using a mask from the library of standard masks or from a mask you have created yourself, you can be sure that your device has no lurking problems.
Accurate jitter testing to industry standards
Testing with long or short patterns, the most accurate jitter measurement is likely to come from the methodology that uses little or no extrapolation to get its result. With the BERTScope, you can quickly measure to levels of 1×10-9(1×10-10at high data rates), or wait for the instrument to measure 1×10-12directly. Either way, the BERTScope's one-button measurements are compliant to the MJSQ jitter methodology, and because the underlying delay control is the best available on any BERT you can be sure that the measurements are accurate. Use the built-in calculations for Total Jitter (TJ), Random Jitter (RJ), and Deterministic Jitter (DJ), or easily export the data and use your own favorite jitter model.
The BSA286CL's low intrinsic RJ supports serving of 802.3ba's simultaneous VECP (Vertical Eye Closure Penalty) and J2/J9 calibration with valuable margin required to fully characterize 100G Ethernet silicon.
Mask compliance contour testing
Many standards such as XFP/XFI and OIF CEI now specify mask tests intended to assure a specified 1×10-12eye opening. Compliance Contour view makes this easy by taking a mask, and overlaying it on your measured BER contours - so you can immediately see whether you have passed the mask at whatever BER level you decide.
| Model | Maximum bit rate | Stressed eye - SJ, RJ, BUJ, SI |
|---|---|---|
| BSA286CL | 28.6 Gb/s | Opt. STR |
| BSA175C | 17.5 Gb/s | Opt. STR |
| BSA125C | 12.5 Gb/s | Opt. STR |
Flexible clocking
The generator clock path features in the BERTScope provides the test flexibility needed for emerging real-world devices. Whether computer cards or disk drives, it is often necessary to be able to provide a sub-rate system clock, such as 100 MHz for PCI Express®(PCIe). To get the target card running may require a differential clock signal with a particular amplitude and offset; this is easily accomplished with the BERTScope architecture, with many flexible divide ratios available.

Clock path in BERTScope Option STR models
Spread Spectrum Clocking (SSC) is commonly used in electrical serial data systems to reduce EMI energy by dispersing the power spectrum. Adjustable modulation amplitude, frequency, and a choice of triangle or sine modulation wave shape allow testing receivers to any compliance standard which utilize SSC. An additional modulator and source allows users to stress the clock with high-amplitude, low-frequency Sinusoidal Jitter (SJ).
Working with closed eyes
With the need to push ever-increasing data rates through electrical channels, the frequency-dependent losses often result in eye closure at the receiver end. Engineers use equalization to compensate for these losses and "open the eyes" in the real system. Tektronix offers powerful tools that allow designers to characterize and test compliance of receiver and transmitter components used in these systems.

In keeping with the BERTScope philosophy, the graphical user interface presents the control functionality in a logical, easy-to-follow format. A time domain representation of the response shows the effects of tap weight settings. The frequency domain Bode plot shows how the filter will compensate for the channel losses.
For receiver testing, the DPP125C Digital Pre-emphasis Processor adds calibrated pre-emphasis to the BERTScope pattern generator outputs, emulating pre-emphasis applied at the transmitter. Pre-emphasis is currently used in 10GBASE-KR, PCIe, SAS 12 Gb/s, DisplayPort®, USB 3.1, and other standards.
Features:
- 1-12.5 Gb/s clock rates
- 3- or 4-tap versions
- Flexible cursor placement allowing pre-cursor or post-cursor
- Option ECM (Eye opener, Clock Multiplier, Clock Doubler)
PatternVu
The PatternVu option includes a software-implemented FIR filter which can be inserted before the eye pattern display. In systems employing receiver equalization, this allows you to view the eye diagram and perform physical measurements on the eye as the receiver's detector would see it, after the effect of the equalizer. Equalizers with up to 32 taps can be implemented, and the user can select the tap resolution per UI.

PatternVu
PatternVu also includes CleanEye, a pattern-locked averaging system which removes the nondeterministic jitter components from the eye. This allows you to clearly see pattern-dependent effects such as ISI (Inter-Symbol Interference) which are normally obscured by the presence of high amounts of random jitter.
Single Value Waveform export is a component in the PatternVu option. This allows you to capture a pattern-locked waveform showing single bits, similar to a single-shot capture in a real-time oscilloscope. Once captured, the waveform can be exported in a variety of formats for further analysis in an external program.
Add clock recovery
The Tektronix CR125A, CR175A, and CR286A add levels of flexibility in compliant clock recovery. Most standards requiring jitter measurement specify the use of clock recovery, and exactly which loop bandwidth must be used. Using a different or unknown loop bandwidth will almost certainly give you the wrong jitter measurement. The new clock recovery instrument enables easy and accurate measurements to be made to all of the common standards.

The intuitive user interface provides easy control of all operating parameters. A unique Loop Response view shows the loop characteristics – actually measured, not just the settings value.
The usefulness of the BERTScope CR is not just confined to BERTScope measurements. Use them stand-alone in the lab with your sampling oscilloscopes, or with existing BERT equipment. Compliant measurements are available to you by pairing either of these versatile instruments with your existing investments.

Display and measure SSC modulation
Spread Spectrum Clocking (SSC) is used by many of the latest serial busses including SATA, PCI Express, and next-generation SAS to reduce EMI issues in new board and system designs. The Tektronix CR Family provides spread spectrum clock recovery together with the display and measurement of the SSC modulation waveform. Automated measurements include minimum and maximum frequency deviation (in ppm or ps), modulation rate of change (dF/dT), and modulation frequency. Also included are display of the nominal data frequency and easy-to-use vertical and horizontal cursors.

SSC waveform measurement
Add jitter analysis
Combine a Tektronix CR125A, CR175A, or CR286A with Option 12GJ, 17GJ, and 28GJ respectively and your sampling oscilloscope or BERTScope for variable clock recovery from 1.2 to 11.2 Gb/s, Duty Cycle Distortion (DCD) measurement, and real-time jitter spectral analysis. Display jitter spectral components from 200 Hz to 90 MHz with cursor measurements of jitter and frequency. Measure band-limited integrated jitter with user-settable frequency-gated measurements (preset band limits and integrated jitter measurement for PCI Express 2.0 jitter spectrum in this example).

Jitter spectrum measurement
Taking stress out of receiver testing
As networks have changed, so have the challenges of testing receivers. While tests such as BER and receiver sensitivity are still important, receiver jitter tolerance has evolved to be more real-world for jitter-limited systems such as 10 Gb/s data over back planes and new high-speed buses. Stressed Eye testing is becoming increasingly common as a compliance measurement in many standards. In addition, engineers are using it to explore the limits of their receiver performance to check margins in design and manufacturing.
Creating the stress recipe for receiver testing to a complicated standard such as PCIe 2.0 used to require "racking and stacking" several instruments, then spending hours calibrating the setup. With BERTScope, an easy-to-understand graphical view gives you control of all of the calibrated stress sources you need – inside the same instrument. Eliminating the need for external cabling, mixers, couplers, modulators, etc. simplifies stress calibration.

Stressed Eye view
Flexible stress impairments
The BERTScope has high-quality, calibrated sources of stress built-in, including RJ, SJ, BUJ, and SI.
ISI is also a common ingredient in many standards. The BSA12500ISI differential ISI board provides a wide variety of path lengths, free from switching suck-outs and anomalies.

Flexible stress impairments
Many standards call for SJ to be stepped through a template with different SJ amplitudes at particular modulation frequencies. This is easy with the built-in Jitter Tolerance function which automatically steps through a template that you designed, or one of the many standard templates in the library.

Built-in jitter tolerance function
BERTScope pattern generators
The BERTScope pattern generators provide a full range of PRBS patterns, common standards-based patterns, and user-defined patterns.
Option STR provides full integrated, calibrated stress generation which is an easy-to-use alternative to a rack full of manually calibrated instruments needed to provide a stressed pattern. Uses include receiver testing of devices with internal BER measurement ability such as DisplayPort, or adding stress capability to legacy BERT instruments.

Stressed eye option
Pattern capture
There are several methods for dealing with unknown incoming data. In addition to Live Data Analysis discussed above, a useful standard feature on all BERTScope analyzers is pattern capture. This allows the user to specify the length of a repeating pattern and then allow the analyzer to grab the specified incoming data using the detector's 128 Mb RAM memory. This can then be used as the new detector reference pattern, or edited and saved for later use.

Pattern capture
Using the Power of Error Analysis – In the following example eye diagram views were linked with BER to identify and solve a design issue in a memory chip controller. The eye diagram (top left) shows a feature in the crossing region that is unexpected and appearing less frequently than the main eye. Moving the BER decision point to explore the infrequent events is revealing. Error Analysis shows that the features are related in some way to the number 24. Further investigation traced the anomaly to clock breakthrough within the IC; the system clock was at 1/24th of the output data rate. Redesigning the chip with greater clock path isolation gave the clean waveform of the top right eye diagram.

Power of error analysis example
Pattern generator stressed eye
The pattern generator stressed eye function provides the following features:
- Flexible, integrated stressed eye impairment addition to the internal or an external clock
- Easy setup, with complexity hidden from the user with no loss of flexibility
- Verify compliance to multiple standards using the BERTScope and external ISI filters. Standards such as:
- OIF CEI
- 6 Gb SATA
- PCI Express
- XFI
- USB 3.1
- SONET
- SAS 2
- XAUI
- 10 and 100 Gb Ethernet
- DisplayPort
- Sinusoidal interference may be inserted in-phase or in anti-phase, or sent externally to be summed after an external ISI reference channel
- Sinusoidal jitter may be locked between two BERTScopes in-phase or anti-phase, as required by OIF CEI
Amplitude and ISI impairments
For ISI, add externally: for example, long coaxial cable length, or Bessel-Thompson 4th Order Filter with –3 dB point at 0.75 of bit rate, etc.
For applications requiring circuit board dispersion, the BSA12500ISI differential ISI accessory board can be used.
Sinusoidal interference
- Supports full data rate range of BERTScope
- 100 MHz to 2.5 GHz
- Adjustable in 100 kHz steps
- Adjustable from 0 to 400 mV
- Common mode or differential
- Available from the rear-panel 50 Ω SMA connector, single ended with data amplitude from 0 to 3 V adjustable from GUI, same frequency range and step size as internal adjustment
Jitter measurements
Multi-gigabit serial data channels have eye openings only a couple hundred picoseconds wide – or less. In systems where only a few picoseconds of jitter count, accurate measurement of jitter is essential for managing tight jitter budgets. The BERTScope has two sets of tools which perform these critical measurements.
The Physical Layer Test Suite option includes measurement of Total Jitter (TJ) along with breakdown into Random Jitter (RJ) and Deterministic Jitter (DJ), using the well-accepted Dual Dirac method. The deep, BERT-collected measurements use several orders of magnitude less extrapolation, or in some cases no extrapolation, than oscilloscopes use as a basis for the jitter measurements. This produces inherently more accurate results than measurements made on other instruments which rely on high levels of extrapolation.

MJSQ-compliant Dual Dirac jitter measurement.
The optional Jitter Map is the latest suite of jitter measurements available for the BERTScope. It provides a comprehensive set of subcomponent analysis beyond RJ and DJ, including many measurements compliant with higher data rate standards. Jitter Map can also measure and decompose jitter on extremely long patterns, such as PRBS-31, as well as live data (requires Live Data Analysis option) providing that it can first run on a shorter synchronized data pattern.

Jitter map
Features include:
- DJ breakdown into Bounded Uncorrelated Jitter (BUJ), Data Dependent Jitter (DDJ), Inter-Symbol Interference (ISI), Duty Cycle Distortion (DCD), and Sub-Rate Jitter (SRJ) including F/2 (or F2) Jitter
- BER-based for direct (non-extrapolated) Total Jitter (TJ) measurement to 10–12 BER and beyond
- Separation of correlated and non-correlated jitter components eliminates mistaking long pattern DDJ for RJ
- Can measure jitter with minimum eye opening
- Additional levels of breakdown not available from other instruments such as: Emphasis Jitter (EJ), Uncorrelated Jitter (UJ), Data Dependent Pulse Width Shrinkage (DDPWS), and Non-ISI
- Intuitive, easy-to-navigate jitter tree

Jitter peak and BER contour measurements made on live data.
Flexible external jitter interfaces
Flexible external jitter interfaces include the following features:
- Front panel external high frequency jitter input connector – jitter from DC to 1.0 GHz up to 0.5 UI (max) can be added, of any type that keeps within amplitude and frequency boundaries
- Rear panel external SJ low frequency jitter input connector – jitter from DC to 100 MHz up to 1 ns (max) can be added
- Rear panel SJ output
- Sinusoidal interference output rear panel connector
The internal RJ, BUJ, and external high-frequency jitter input is limited to 0.5 UI, combined, further limited to 0.25 UI each when both are enabled. Rear-panel low-frequency jitter input can be used to impose additional jitter; the sum of external low-frequency jitter, internal low-frequency SJ to 10 MHz, PCIe LFRJ and PCIe LFSJ (with Option PCISTR) is limited to 1.1 ns. This limit does not apply to Phase Modulation (PM) from Option XSSC.
Jitter impairments
Bounded uncorrelated jitter:
- Supports data rates from 1.5 to 12.5 Gb/s (BSA125C), 17.5 Gb/s (BSA175C), and 28.6 Gb/s (BSA286CL) with limited performance to 622 Mb/s (BSA286CL excluded)
- Internal PRBS Generator
- Variable up to 0.5 UI
- 100 Mb/s to 2.0 Gb/s
- Band-limited by selected filters
| BUJ rate | Filter |
|---|---|
| 100 to 499 | 25 MHz |
| 500 to 999 | 50 MHz |
| 1,000 to 1,999 | 100 MHz |
| 2,000 | 200 MHz |
Random jitter:
- Supports data rates from 1.5 to 12.5 Gb/s (BSA125C), 17.5 Gb/s (BSA175C), and 28.6 Gb/s (BSA286CL) with limited performance to 622 Mb/s (BSA286CL excluded)
- Variable up to 0.5 UI
- Band-limited 10 MHz to 1 GHz
- Crest factor of 16 (Gaussian to at least 8 standard deviation or about 1×10–16 probability)
Sinusoidal jitter
| Data rate | Internal SJ frequency | Maximum internal SJ amplitude |
|---|---|---|
| Up to 12.5 Gbps (BSA125C, or 17.5 Gbps (BSA175C) | 1 kHz to 10 MHz 1 | 1100 ps |
| 10 MHz to 100 MHz | 200 ps | |
| Up to 28.6 Gb/s (BSA286CL) | 1 kHz to 100 MHz | 1100 ps 2270 ps 3 |
SJ adjustable from 0 to levels greater than or equal to range in table. SeeAdditional stress optionsfor more SJ capabilities.

1Can be combined with other low-frequency modulation.
2Full SJ range is 270 ps with RJ or BUJ the range is reduced to 220 ps.
3Range is selectable between 1100 ps and 270 ps maximum; a lower range has lower intrinsic jitter.
Testing interface cards
Finally a solution to the age-old problem of making physical layer measurements on high-speed line cards, motherboards, and live traffic – the BERTScope Live Data Analysis option. Through novel use of the dual-decision point architecture, the instrument is able to make parametric measurements such as Jitter, BER Contour, and Q-factor in addition to the eye and mask measurements that are usable as standard – all that is required is a clock signal. Add the Jitter Map option to see even more layers of jitter decomposition on live data. No more frustration because the pattern is not known, is unpredictable, or involves rate-matching word insertions. Troubleshooting is so much easier now that the one-button physical layer tests can be employed to provide unique insight.
Using the USB3 instrument switch
The BSASWITCH Instrument Switch is a flexible device usable for general-purpose applications and specific inclusion in USB 3.1 compliance testing. For USB 3.1 testing, the switch features a pattern generator for generation of Low Frequency Periodic Signaling (LFPS), used to ensure devices achieve loopback. Other features include:
- Manual switching between channels with front-panel controls
- Automated control through USB
- Flexible triggering with multiple control choices
- Two main input channels (Ch 1, Ch 2) with >10 GHz analog bandwidth
- Single-ended to differential input channel for easily adding low-frequency signal generators to test setups
- USB control and power with no need for additional external power

BSASWITCH instrument switch
User interfaces
User interfaces take usability to new heights:
- Easy navigation
- Logical layout and operation
- Multiple ways of moving between screens
- Relevant information right where you need it
- Color coding to alert you to the presence of nonstandard conditions

UI setup screens
Use the Editor screen for pattern editing of standard and AB page select patterns and mask editing and other tasks:
- Views in Binary, Decimal, or Hexadecimal
- Support for variable assignments, repeat loops, seeding of PRBS patterns
- Capture and editing of incoming data – for example, to make a repeating pattern out of real-world traffic
- Capture is available by trigger, by length, or by length following a trigger
- Capture is by number or words, 1 word is 128 bits. For example, a PRBS-7 (127 bits long) would be captured as 127 words, and would have overall length of 16,256 bits

Editor screen
BERTScope built-in parametric measurements
All BERTScopes come with eye diagrams and mask test capabilities as standard, along with error analysis.
Eye diagrams:
- 280×350 pixel waveform display
- Deep acquisition
- Automatic Measurements include:
- Rise time
- Fall time
- Unit interval (data, and also clock)
- Eye amplitude
- Noise level of 1 or 0
- Eye width
- Eye height
- Eye jitter (p-p and RMS)
- 0 level, 1 level
- Extinction ratio
- Vertical eye closure penalty (VECP)
- Dark calibration
- Signal-to-Noise ratio
- Vp-p, Vmax, Vmin, crossing levels
- Rising and falling crossing level (picoseconds)
- Overshoot 0 level and 1 level
- Average voltage/power
- Cross amplitude, noise level 1 or 0, voltage
- Optical modulation amplitude (OMA)
- Sample count
- Offset voltage
- De-emphasis ratio
Mask testing:
- Library of standard masks (such as, XFP, or edit custom masks)
- Addition of positive or negative mask margin
- Import of measured BER contour to become process control mask
- At least 1000x the sample depth of traditional sampling oscilloscope masks is ideal for ensuring the absence of rare event phenomena
Optical units:
- An external optical receiver can be added to the input of the BERTScope detector. Through the user interface it is easy to input and save the characteristics of the receiver. Once accomplished, relevant units on physical layer displays are changed to optical power in dBm, μW, or mW. Coupling can be AC or DC, and the software steps the user through dark calibration.
- For electrical signals, attenuation values can be entered to properly scale eye diagrams and measurements when external attenuators are used.
Variable-depth eye and mask testing:
- For eye diagrams and mask testing, the depth of test may be varied in manual mode; the instrument will take the specified number of waveforms then stop. The range is 2,000 to 1,000,000 bits (complete waveforms). Alternatively, the default mode is Continuous, and the eye or mask test increases in depth over time.
Physical layer test option
The following physical layer test options are available:
- BER contour testing
- Executed with same acquisition circuitry as eye diagram measurements for maximum correlation
- As-needed delay calibration for accurate points
- Automatic scaling, one-button measurement
- Extrapolates contours from measured data, increasing measurement depth with run time and repeatedly updating curve fits
- Easy export of fitted data in CSV format
- Contours available from 10–6 to 10–16 in decade steps
- Basic jitter measurements
- Testing to T11.2 MJSQ BERTScan methodology (also called ‘Bathtub Jitter’)
- Deep measurements for quick and accurate extrapolation of Total Jitter at user-specified level, or direct measurement
- Separation of Random and Deterministic components, as defined in MJSQ
- As-needed delay calibration for accurate points
- Export of points in CSV format
- Easy one-button measurement
- User-specified amplitude threshold level, or automatic selection
- Selectable starting BER to increase accuracy when using long patterns, as defined in MJSQ
- Q-factor measurement
- One-button measurement of a vertical cross section through the middle of the eye
- Easy visualization of system noise effects
- Export of data in CSV format
- Compliance contour
- Validation of transmitter eye performance to standards such as XFP/XFI and OIF CEI
- Overlay compliance masks onto measured BER contours and easily see whether devices pass the BER performance level specified
Live data analysis option
The Live data analysis option is designed to measure parametric performance of traffic that is either unknown or non-repeating. This can include traffic with idle bits inserted, such as, in systems with clock rate matching. It is also suitable for probing line cards.
The option uses one of the two front-end decision circuits to decide whether each bit is a one or zero by placing it in the center of the eye. The other is then used to probe the periphery of the eye to judge parametric performance. This method is powerful for physical layer problems, but will not identify logical problems due to protocol issues, where a zero was sent when it was intended to be a one.
Live data measurements can be made using BER Contour, Jitter Peak, Jitter Map, and Q-factor. Eye diagram measurements can be made on live data without the use of this option, providing a synchronous clock is available.
The Live data analysis option requires the Physical layer test option and must be used with a full-rate clock.
PatternVu equalization processing option
PatternVu1adds several powerful processing functions to the BERTScope:
- CleanEye is an eye diagram display mode, which averages waveform data to present an eye diagram with the non-data-dependent jitter removed. This allows the user to view and measure data-dependent jitter such as Inter-Symbol Inference, giving an intuitive idea of the compensatable jitter present, for example. It is effective on any repeating pattern up to 32,768 bits long.
- Single value waveform export is a utility which converts the CleanEye output to an export file in Comma Separated Vector (CSV) format. The output file, of up to 105 bit points, can then be imported into Microsoft Excel or software analysis and simulation tools such as Stateye or MATLAB®. This allows offline filtering of real captured data and the implementation of standards-based processing such as Transmitter Waveform Dispersion Penalty (TWDP) required by 802.3aq, the recent Long Reach MultiMode (LRM) 10 Gb Ethernet standard.
- The FIR filter equalization processor allows the emulation of the communication channel to view and measure the eye as the detector in the receiver would, by applying a software linear filter to the data before it is displayed. For example, the FIR Filter can be used to emulate the lossy effects of a backplane channel, or alternatively, emulate the receiver’s equalization filter, facilitating the design and characterization of receiver-side equalization.
The filter characteristics are controlled by entering the individual weighting coefficients of a series of taps in the FIR filter. Up to 32 taps with tap spacing from 0.1 to 1.0 unit intervals (UI) can be programmed to allow fine resolution of the filter shape. The FIR Filter can be applied to repeating patterns up to 32,768 bits long.
- Single edge jitter measurement allows truly deep BER-based jitter measurements to be applied to individual data edges at data rates above 3 Gb/s. The Single Edge Jitter Peak measurement function enables computation of jitter on a user-selectable single edge in the pattern, for repeating patterns up to 32,768 bits long. The resulting jitter measurement excludes data-dependent effects, showing only the uncorrelated jitter components such as Random Jitter (RJ), Bounded Uncorrelated Jitter (BUJ), and Periodic Jitter (PJ).
- Flexible measurements enables users to specify exactly the portion of the CleanEye waveform to use for accurate measurement of amplitude, rise and fall time, and de-emphasis ratio. Preprogrammed formulas for standards such as PCI Express and USB 3.1 are included.
1PatternVu operates at data rates of 900 Mb/s and higher.
Error analysis
Error analysis is a powerful series of views that associate error occurrences so that underlying patterns can be easily seen. It is easy to focus in on a particular part of an eye diagram, move the sampling point of the BERTScope there, and then probe the pattern sensitivity occurring at that precise location. For example, it is straightforward to examine which patterns are responsible for late or early edges.
Many views come standard with the BERTScope Family:
- Error statistics: A tabular display of bit and burst error counts and rates

Error Statistics view showing link performance in terms of bit and burst occurrences.
- Strip chart: A strip chart graph of bit and burst error rates

Strip Chart view showing bit and burst error performance over time. This can useful while temperature cycling as part of troubleshooting.
- Burst length: A histogram of the number of occurrences of errors of different lengths
- Error free interval: A histogram of the number of occurrences of different error-free intervals
- Correlation: A histogram showing how error locations correlate to user-set block sizes or external marker signal inputs
- Pattern sensitivity: A histogram of the number of errors at each position of the bit sequence used as the test pattern
- Block errors: A histogram showing the number of occurrences of data intervals (of a user-set block size) with varying numbers of errors in them

The Pattern Sensitivity view is a powerful way of examining whether error events are pattern related. It shows which pattern sequences are the most problematic, and operates on PRBS and user-defined patterns.
Error analysis options
Forward error correction emulation
Because of the patented error location ability of the BERTScope, it knows exactly where each error occurs during a test. By emulating the memory blocks typical of block error correcting codes such as Reed-Solomon architectures, bit error rate data from uncorrected data channels can be passed through hypothetical error correctors to find out what a proposed FEC approach would yield. Users can set up error correction strengths, interleave depths, and erasure capabilities to match popular hardware correction architectures.
2-D error mapping
This analysis creates a two-dimensional image of error locations from errors found during the test. Error mapping based on packet size or multiplexer width can show if errors are more prone to particular locations in the packet or particular bits in the parallel bus connected to the multiplexer. This visual tool allows for human eye correlation, which can often illuminate error correlations that are otherwise very difficult to find – even with all the other error analysis techniques.
| Characteristic | Description |
|---|---|
| Live analysis | Continuous |
| Error logging capacity | Maximum 2 GB file size |
| Error events/second | 10,000 |
| Maximum burst length | 32 kb |
Jitter tolerance template option
Many standards call for SJ to be stepped through a template with different SJ amplitudes at particular modulation frequencies. This is easy with the built-in Jitter Tolerance function which automatically steps through a template that you designed, or one of the many standard templates in the library.
Standard library of templates:
- 10GBASE LX4 802.3ae 3.125 Gb/s
- 10 GbE 802.3ae 10.3125 Gb/s
- 40 GbE 802.3ba LR4 10.3125 Gb/s
- 100 GbE 802.3ba LR4/ER4 25.78125 Gb/s
- CEI 11G Datacom Rx Ingress (D) 11 Gb/s
- CGE Telecom Rx Egress (Re) 11 Gb/s 1
- CEI 11G Telecom Rx Ingress (Ri) 11 Gb/s1
- CEI 11G Total Wander 11.1 Gb/s
- CEI 11G Total Wander 9.95 Gb/s
- CEI 6G Total Wander 4.976 Gb/s
- CEI 6G Total Wander 6.375 Gb/s
- CEI 25G Total Wander 25.78125 Gb/s
- FBB DIMM1 3.2 Gb/s
- FBB DIMM1 4.0 Gb/s
- FBB DIMM1 4.8 Gb/s
- FBB DIMM2 3.2 Gb/s
- FBB DIMM2 4.0 Gb/s
- FBB DIMM2 4.8 Gb/s
- Fibre Channel 1.0625 Gb/s
- Fibre Channel 2.125 Gb/s
- Fibre Channel 4.25 Gb/s
- Fibre Channel 8G 8.5 Gb/s
- Fibre Channel 16G 14.025 Gb/s
- OTN OTU-1 2.666G1
- OTN OTU-2 10.709 Gb/s
- OTN(10BASE-R) 11.1 Gb/s
- SAS (SCSI) 1.5 Gb/s
- SAS (SCSI) 3 Gb/s
- SDH 0.172 STM-1 155M1
- SDH 0.172 STM-16 2.4832 Gb/s1
- SDH 0.172 STM-4 622 Mb/s1
- SDH 0.172 STM-64 9.956 Gb/s1
- SDH STM-16 2.48832 Gb/s1
- SDH STM-64 9.9532 Gb/s1
- SONET OC-48 2.48832 Gb/s1
- SONET OC12 622 Mb/s1
- SONET OC192 9.9532 Gb/s1
- SONET OC192 9.95 Gb/s1
- SONET OC3 155 Mb/s1
- SONET OC48 2.4832 Gb/s1
- USB 3.1 5 & 10 Gb/s
- XAUI 3.125 Gb/s
- XFI ASIC Rx In Datacom (D) 10.3125 Gb/s
- XFI ASIC Rx In Datacom (D) 10.519 Gb/s
- XFI ASIC Rx In Telecom (D) 10.70 Gb/s
- XFI ASIC Rx In Telecom (D) 9.95328 Gb/s1
- XFI Host Rx In Datacom (C) 10.3125 Gb/s
- XFI Host Rx In Datacom (C) 10.519 Gb/s
- XFI Host Rx In Telecom (C) 10.70 Gb/s1
- XFI Host Rx In Telecom (C) 9.95328 Gb/s1
- XFI Module Tx In Datacom (B') 10.3125 Gb/s
- XFI Module Tx In Datacom (B') 10.519 Gb/s
- XFI Module Tx In Telecom (B') 10.70 Gb/s1
- XFI Module Tx In Telecom (B') 9.95328 Gb/s1
Some of the areas of adjustment include:
- BER confidence level
- Test duration per point
- BER threshold
- Test device relaxation time
- Imposition of percentage margin onto template
- Test precision Control over A/B Pattern switch behavior
Also included is the ability to test beyond the template to device failure at each chosen point, and the ability to export data either as screen images or CSV files.
1Requires Option XSSC.
Jitter map option
The Jitter map1option provides automated jitter decomposition with long pattern jitter triangulation. It extends BER-based jitter decomposition beyond Dual Dirac measurement of Total Jitter (TJ), Random Jitter (RJ), and Deterministic Jitter (DJ) to a comprehensive set of subcomponents. It can also measure and decompose jitter on extremely long patterns, such as PRBS-31, providing that it can first run on a shorter synchronized data pattern.
The option includes the following features:
- DJ breakdown into Bounded Uncorrelated Jitter (BUJ), Data Dependent Jitter (DDJ), Inter-Symbol Interference (ISI), Duty Cycle Distortion (DCD), and Sub-Rate Jitter (SRJ) 2 including F/2 (or F2) jitter
- BER based for direct (non-extrapolated) Total Jitter (TJ) measurement to 10–12 BER and beyond
- Separation of correlated and uncorrelated jitter components eliminates mistaking long pattern DDJ for RJ
- Visualization of RJ RMS measured on individual edges of the data pattern
- J2 and J9 jitter measurements for 100 GbE applications
- Additional levels of breakdown not available from other instruments such as: Emphasis Jitter (EJ), Uncorrelated Jitter (UJ), Data Dependent Pulse Width Shrinkage (DDPWS), and non-ISI
- Intuitive, easy-to-navigate jitter tree
1Jitter map operates at data rates of 900 Mb/s and higher.
2SRJ and F/2 jitter operate up to 11.2 Gb/s (BSA125C, BSA175C, BSA286CL).
Stressed live data option
The BERTScope Stressed Live Data software option enables engineers to add various types of stress to real data traffic in order to stress devices with bit sequences representative of the environment they will encounter once deployed. Using live traffic with added stress tests the boundaries of device performance and lends added confidence to designs before they are shipped.
- Full range of calibrated stress available on the BERTScope, including Sinusoidal Jitter (SJ), Random Jitter (RJ), Bounded Uncorrelated Jitter (BUJ), Sinusoidal Interference (SI), F/2 Jitter, and Spread Spectrum Clocking (SSC)
- Data rate support up to the maximum of the BERTScope
- Full-rate clock required up to 11.2 Gb/s, half-rate clock required above 11.2 Gb/s
Symbol filtering option
Symbol filtering enables asynchronous BER testing, including Jitter Tolerance testing, on incoming data streams that have a nondeterministic number of clock compensation symbols inserted into the bit stream, as is common in 8b/10b encoded systems when placed in loopback for receiver testing.
- Supports asynchronous receiver testing for USB 3.1, SATA, and PCI Express
- User-specified symbols are automatically filtered from the incoming data to maintain synchronization
- The Error Detector maintains a count of filtered bits for accurate BER measurement
Pattern generator specifications
All specifications are guaranteed unless noted otherwise. All specifications apply to all models unless noted otherwise.
Data outputs
- Data rate range
- BSA125C
- 0.1 to 12.5 Gb/s
- BSA175C
- 0.5 to 17.5 Gb/s
- BSA286CL
- 1 to 28.6 Gb/s
- Format
- NRZ
- Polarity
- Normal or inverted
- Variable cross over
- 25 to 75%
- Patterns
- Hardware patterns
- Industry-standard Pseudo-random (PRBS) of the following types: 2n – 1 where n = 7, 11, 15, 20, 23, 31
- RAM patterns
- 128 bits to 128 Mb total, allocated in 32 Mb portions to each of two A/B pages. Single page max is 128 Mb
- Library
- Wide variety including SONET/SDH, Fibre Channel based such as k28.5, CJTPAT; 2n patterns where n = 3, 4, 5, 6, 7, 9; Mark Density patterns for 2n where n = 7, 9, 23; and many more
- Error insertion
- Length
- 1, 2, 4, 8, 16, 32, 64 bit bursts
- Frequency
- Single or repetitive
Clock outputs
- Frequency range
- Rise times are measured 20% to 80% unless otherwise stated. Specifications are following a 20-minute warm-up period. Specifications subject to change.
- BSA125C
- 0.1 to 12.5 GHz 1
- BSA175C
- 0.5 to 17.5 GHz1
- BSA286CL
- 1-28.6 GHz1
1Clock output frequency is ÷2 at data rates above 11.2 Gb/s.
- Phase noise
- < –90 dBc/Hz at 10 kHz offset (typical)
- Clock output divide ratios
- Opt. STR only (See the Clock path details below.)
Data clock amplitudes and offsets
- Configuration
- Differential outputs, each side of pair individually settable for termination, amplitude, offset
- Interface
- DC coupled, 50 Ω reverse terminated, 3.5 mm connector. Calibration into 75 Ω selectable, other impedances by keypad entry. User-replaceable Planar Crown® adapter allows change to other connector types
- Preset logic families
- LVPECL, LVDS, LVTTL, CML, ECL, SCFL
- Terminations
- Variable, –2 to +2 V Presets: +1.5, +1.3, +1, 0, –2 V, AC coupled
- Allowable amplitudes, terminations, and offsets
- Refer to the following figures.

Amplitude swings between 0.25 and 2.0 V allowed; should fit inside shaded area of the following graph. For example, SCFL uses a 0 V termination, and operates between approximately 0 and –0.9 V; as shown with dotted arrow, it falls within the operating range.

Data clock waveform performance
- Rise time
- 25 ps max, 23 ps typical (10-90%), 1 V amplitude, at 8.0 Gb/s, PRBS31 pattern
- Jitter
- BSA125C, BSA175C
- <500 fs RMS Random Jitter (@10.3125 Gb/s) typical
- BSA286CL
- ≤8 psp-p TJ (@28.05 Gb/s) typical
≤300 fs RMS Random Jitter (@28.05 Gb/s) typical
1Measured at designated rate with PN15 pattern, BER 10-12.
Clock/data delay
- Range
- Greater than 1 bit period in all cases
- Up to 1.1 GHz
- 30 ns
- Above 1.1 GHz
- 3 ns
- Resolution
- 100 fs
- Self calibration
- At time of measurement, when temperature or bit rate are changed, instrument will recommend a self calibration. Operation takes less than 10 seconds.
Pattern generator front panel connections
- Allows use of an external clock source to clock the BERTScope. Models equipped with stress are able to add impairments to incoming clock, including when external signal has Spread Spectrum Clocking (SSC) in excess of 5000 ppm imposed on it.
- Frequency range
- BSA125C
- 0.1 to 12.5 GHz
- BSA175C
- 0.5 to 17.5 GHz
- BSA286CL
- 1 to 28.6 GHz
- Nominal power
- 900 mVp-p (+3 dBm)
- Maximum power
- 2.0 Vp-p (+10 dBm)
- Return loss
- Better than –6 dB
- Interface
- 50 Ω SMA female, DC coupled into selectable termination voltage
HF Jitter (Opt. STR only)
- One of two jitter insertion inputs. Can be used to insert SJ, RJ, BUJ if desired.
- Frequency range
- DC to 1.0 GHz
- Jitter amplitude range
- Up to 0.5 UI maximum
- Input voltage range
- 0-2 Vp-p (+10 dBm) for normal operation
6.3 Vp-p(+20 dBm) max nondestructive input
- Data rate range
- Limited performance to 622 Mb/s (BSA286CL excluded)
- Interface
- SMA female, 50 Ω, DC coupled into 0 V
Sub-rate clock outputs
- BERTScope standard models have clock divided by 4. BERTScope Option STR models have additional capabilities.
- Frequency range
Model Standard range Range with Opt. STR BSA125C 0.025 to 2.125 GHz 8.5 GHz 0.025 to 2.8 GHz 11.2 GHz BSA175C 0.125 to 2.8 GHz 11.2 GHz BSA286CL 0.250 to 3.575 GHz 14.3 GHz
- Amplitude range
- 0.6 Vp-p, nominal, centered around 0 V
- Transition time
- <500 ps
- Interface
- SMA female, 50 Ω, DC coupled into 0 V
Trigger output
- Provides a pulse trigger to external test equipment. It has two modes:
Divided Clock Mode: Pulses at 1/256th of the clock rate
Pattern Mode: Pulse at a programmable position in the pattern (PRBS), or fixed location (RAM patterns)
Stress modulation added on models so equipped, when enabled.
- Minimum pulse width
- 128 Clock Periods (Mode 1)
512 Clock Periods (Mode 2)
- Transition time
- <500 ps
- Jitter (p-p, data to trigger)
- <10 ps, typical (BSA175C, BSA286CL)
- Output levels
- CML; >300 mVp-p, center around -250 mV
- Interface
- 50 Ω SMA female
Pattern generator rear panel connections
- For users wanting to synchronize patterns of multiple data streams from multiple instruments simultaneously.
- Logic levels
- LVTTL (<0.5 V Low, >2.5 V High)
- Threshold
- +1.2 V typical
- Maximum nondestructive input range
- –0.5 V to +5.0 V
- Minimum pulse width
- 128 serial clock periods
- Maximum repetition rate
- 512 serial clock periods
- Interface
- SMA female, >1 kΩ impedance into 0 V
Page select input
- In A-B Page Select mode, allows external control of the pattern. Software control over rising or falling edge trigger, continuous Pattern B after completion of Pattern A, or run B only once before reverting back to A.
- Logic levels
- LVTTL (<0.5 V Low, >2.5 V High)
- Threshold
- +1.2 V typical
- Maximum nondestructive input range
- –0.5 V to +5.0 V
- Minimum pulse width
- 1 pattern length
- Interface
- SMA female, >1 kΩ impedance into 0 V
Sinusodial interference output (Opt. STR only)
- SI output from internal generator. Can be used to apply SI after external ISI channel.
- Frequency range
- 0.1-2.5 GHz
- Output voltage
- 0-3 Vp-p
- Interface
- SMA Female, 50 Ω, AC coupled
Low frequency jitter input (Opt. STR only)
- Allows use of external low-frequency jitter source to modulate the stressed Pattern Generator output.
- Frequency range
- DC to 100 MHz
- Jitter amplitude range
- Up to 1.1 ns, can be combined with other internal low-frequency modulation
- Input voltage range
- 0-2 Vp-p (+10 dBm) for normal operation
6.3 Vp-p(+20 dBm) maximum nondestructive input
- Data rate range
- BSA125C
- Up to 12.5 Gb/s
- BSA175C
- Up to 17.5 Gb/s
- BSA286CL
- Up to 28.6 Gb/s
- Interface
- SMA female 50 Ω, DC coupled into 0 V
Low frequency sinusoidal jitter output (Opt. STR only)
- To allow phasing of two BERTScopes together, in-phase or anti-phase.
- Frequency range
- As set for internal SJ from user interface
- Amplitude
- 2 Vp-p, centered at 0 V
- Interface
- SMA female, 50 Ω, AC coupled
Reference input
- To lock the BERTScope to an external frequency reference from of another piece of equipment.
- Frequency
- 10 MHz, 100 MHz, 106.25 MHz, 133.33 MHz, 156.25 MHz, 166.67 MHz, or 200 MHz
- Amplitude
- 0.325 to 1.25 Vp-p (–6 to +6 dBm)
- Interface
- 50 Ω SMA female, AC coupled
Reference output
- Provides a frequency reference for other instruments to lock to.
- Configuration
- (BSA125C) Differential
Single Ended (Ref-Out not used) for all models other than BSA125C
- Frequency
- 10 MHz, 100 MHz, 106.25 MHz, 133.33 MHz, 156.25 MHz, 166.67 MHz, or 200 MHz
- Amplitude
- 1 Vp-p (+4 dBm) nominal, each output, (2 Vp-p differential)
- Interface
- 50 Ω SMA female, AC coupled
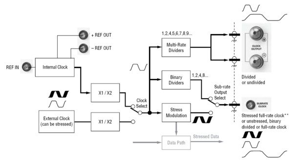
Clock path details
- BSA125C, BSA175C, BSA286CL

Functional block diagram of the clock path for models with stress capability: BSA125C, BSA175C, BSA286CL.
** Stress may be added to an external clock on appropriate models. Stress operating range is from 1.5 to 11.2 Gb/s. External clock must have a duty cycle of 50% ±2%.
The BSA125C, BSA175C, and BSA286CL models use an internal Double Data Rate (DDR) architecture to operate at data rates ≥11.2 Gb/s. When operating at 11.2 Gb/s or higher data rate, the clock output will be 1/2 the data rate. The external clock can be specified to be either full or half data rate. When full rate is selected, the pattern generator will operate in DDR mode when the input clock frequency is 11.2 GHz or higher.
These ratios apply to operation from internal clock only. The external clock will be output at 1/2 rate when half rate is selected, or when full rate is selected and clock rate is ≥11.2 GHz.
The minimum data rate specified for the main clock output is 500 Mb/s. Output will be uncalibrated when operated at divided rates lower than 500 Mb/s.
- Multi-rate and sub-rate divider ratios for main clock output
- Only applies to BSA125C, BSA175C, and BSA286CL
Data rate (Gb/s) Ratios for main clock output Ratios for sub-rate clock output 1 500-750 Mb/s 1, 2, 4, 5, 6, 7, 8, 9, 10, 12, 14, 16, 18, 20, 24, 32, 36 1, 2, 4 0.75-3 Gb/s 1, 2, 4, 5, 6, 7, 8, 9, 10, 12, 14, 16, 18, 20, 24, 30, 32, 32, 35, 36, 36, 40, 42, 45, 48, 50, 54, 56, 60, 64, 70, 72, 80, 81, 84, 90, 98, 108, 112, 126, 128, 144, 162 1, 2, 4, 8 3-6 Gb/s 1, 2, 4, 5, 6, 7, 8, 9, 10, 12, 14, 16, 18, 20, 24, 30, 32, 32, 35, 36, 36, 40, 42, 45, 48, 50, 54, 56, 60, 64, 70, 72, 80, 81, 84, 90, 98, 100, 108, 112, 120, 126, 128, 140, 144, 160, 162, 168, 180, 192, 196, 216, 224, 252, 256, 288, 324 1, 2, 4, 8, 16, 32 6-11.2 Gb/s 1, 2, 4, 5, 6, 7, 8, 9, 10, 12, 14, 16, 18, 20, 24, 30, 32, 32, 35, 36, 36, 40, 42, 45, 48, 50, 54, 56, 60, 64, 70, 72, 80, 81, 84, 90, 98, 108, 112, 126, 128, 140, 144, 144, 160, 162, 162, 168, 180, 192, 196, 200, 216, 224, 240, 252, 256, 280, 288, 320, 324, 360, 384, 392, 432, 448, 504, 512, 576, 648 1, 2, 4, 8, 16, 32, 64 11.2-12 Gb/s 2, 4, 8, 10, 12, 14, 16, 18, 20, 24, 28, 32, 36, 40, 48, 60, 64, 64, 70, 72, 72, 80, 84, 90, 96, 100, 108, 112, 120, 128, 140, 144, 160, 162, 168, 180, 196, 200, 216, 224, 240, 252, 256, 280, 288, 320, 324, 336, 360, 384, 392, 432, 448, 504, 512, 576, 648 2, 4, 8, 16, 32, 64 12-26 Gb/s 2, 4, 8, 10, 12, 14, 16, 18, 20, 24, 28, 32, 36, 40, 48, 60, 64, 64, 70, 72, 72, 80, 84, 90, 96, 100, 108, 112, 120, 128, 140, 144, 160, 162, 168, 180, 196, 216, 224, 252, 256, 280, 288, 288, 320, 324, 324, 336, 360, 384, 392, 400, 432, 448, 480, 504, 512, 560, 576, 640, 648, 720, 768, 784, 864, 896, 1008, 1024, 1152, 1296 2, 4, 8, 16, 32, 64, 128
1Sub-rate clock connector can also output a full-rate stressed clock up to 11.2 Gb/s, or half-rate stressed clock at rates ≥11.2 Gb/s.
Additional stress options
Enhanced spread spectrum clock option (Opt. STR and/or Opt. XSSC)
- Adds a modulator directly to the synthesizer clock output – modulation affects main and sub-rate clock output (regardless of the state of sub-rate output select), Data Output, and Trigger Output.
- Modes
- SSC or Phase Modulation (sinusoidal)
- Data rate range
- Full range of BERTScope
- SSC wave shape
- Triangle or Sine
- SSC frequency range
- 20 kHz to 40 kHz
- SSC modulation range
12,500 ppm at 6 Gb/s
6,200 ppm at 12 Gb/s
6,000 ppm at 12.5 Gb/s and above
See Maximum SSC Modulation graph for range at lower clock rates

Maximum SSC modulation with Option XSSC
- SSC modulation resolution
- 1 ppm
- SSC modulation type
- Down Spread, Center Spread, Up Spread
- PM frequency range
- 10 Hz to 160 kHz
- PM frequency resolution
- 1 Hz
- PM modulation range -- for modulation frequency 10 Hz to 2 kHz
Data rate Maximum modulation >6 Gb/s 6000 UI 3 to 6 Gb/s 3000 UI 1.5 to 3 Gb/s 1500 UI 0.75 to 1.5 Gb/s 750 UI 375 to 750 Mb/s 375 UI 187 to 375 Mb/s 187.5 UI 100 to 187 Mb/s 93.75 UI Reduced for modulation frequencies >2 kHz See Phase Modulation Range graph. 
Phase Modulation Range with Option XSSC
F/2 jitter generation option (Opt. F2, also requires Opt. STR)
- F/2 or sub-rate jitter is found in high data rate systems which multiplex up 2 or more lower data rate streams. The jitter results for lack of symmetry in the multiplexing clock, giving all of the even bits different pulse width than the odd bits. Unlike conventional DCD, F/2 jitter is independent of the logic state of the bit. F/2 jitter is part of the stress recipe used in testing compliance to some of the newer standards such as 802.3ap (10 Gb backplane Ethernet).
- Supported data rates
- 8.0 and 10.3125 Gb/s
- Modulation range
- 0-5.0% UI
Extended stress generation option (Opt. PCISTR)
- This option adds additional stress generators required for compliance testing receivers to PCIe 2.0 specifications, internal to the BERTScope.
- Clock frequency range
- Up to 11.2 Gb/s
- LFRJ modulation range
- 0-1.1 ns 1
1Can be combined with other low-frequency modulation.
- LFRJ frequency range
- Band-limited to 10 kHz - 1.5 MHz, with roll off to PCIe 2.0 specifications
- LFSJ modulation range
- 0-368 ps 1 at 5 Gb/s
- LFSJ frequency range
- 1-100 kHz
- The Extended Stress option also adds selectable bandwidth-limiting to the normal, broadband RJ generator.
- RJ frequency, Normal mode
- Band-limited to 10 MHz - 1 GHz
- RJ frequency, PCIE mode
- Band-limited to 1.5-100 MHz with roll off to PCIe 2.0 specifications
Error detector specifications
All specifications are guaranteed unless noted otherwise. All specifications apply to all models unless noted otherwise.
Clock input
- Configuration
- Single ended
- Frequency range
- BSA125C
- 0.1 to 12.5 Gb/s
- BSA175C
- 0.5 to 17.5 Gb/s 1
- BSA286CL
- 1 to 28.6 Gb/s 2
1A full- or half-rate clock may be used for data rates above 11.2 Gb/s.
2From 26 to 28.6 Gb/s the input detector operates at half rate (using even or odd bits).
Data and clock interfaces
- Connector
- 3.5 mm
- Impedance
- 50 Ω
- Threshold voltage
- –2 to +3.5 V
- Threshold presets
- LVPECL, LVDS, LVTTL, CML, ECL, SCFL
- Terminations
- Variable, –2 V to +3 V
Presets: +1.5, +1.3, +1, 0, –2 V, AC coupled
- Maximum nondestructible input
- –3 Vpeak, +4 Vpeak, applied to any connector
Detector clock data delay
- Range
- Greater than 1 bit period in all cases
- Up to 1.1 GHz
- 30 ns
- Above 1.1 GHz
- 3 ns
- Resolution
- 100 fs
- Self calibration
- Supported – At time of measurement, when temperature or bit rate are changed, instrument will recommend a self calibration. Operation takes less than 10 seconds.
Data inputs
- Data rate range
- BSA125C
- 0.1 to 12.5 Gb/s
- BSA175C
- 0.5 to 17.5 Gb/s
- BSA286CL
- 1 to 28.6 Gb/s
- Configuration
- Differential
- Format
- NRZ
- Polarity
- Normal or Inverted
- Threshold alignment
- Can auto-align to differential crossing point
- Sensitivity
- Single ended
- 100 mVp-p, typical
- Differential
- 50 mVp-p, typical
- Maximum input signal swing
- 2 Vp-p
- Intrinsic transition time
- 16 ps typical, 10/90%, single ended (equivalent to >20 GHz detector bandwidth). Measured at input, ECL levels
- Hardware patterns
- Industry-standard Pseudo-random (PRBS) of the following types: 2n – 1 where n = 7, 11, 15, 20, 23, 31
- RAM patterns
- User defined
- 128 bits to 128 Mb, 128-bit increments
- Library
- Wide variety including SONET/SDH, Fibre Channel based such as k28.5, CJTPAT; 2n patterns where n = 3, 4, 5, 6, 7, 9; Mark Density patterns for 2n where n = 7, 9, 23; and many more
- RAM pattern capture
- Capture incoming data up to 128 Mb in length. Edit captured data, send to Pattern Generator, Error Detector, or both
- RAM pattern capture modes
- Capture by length
- 1 to 1,048,576 words. 1-word default. Words 128 bit in length
- Capture by triggers
- Captures when “Detector Start” on rear panel goes high, to maximum allowable length or until input goes low
- Capture by length from trigger
- Capture by length initiated from “Detector Start” input, to pre-specified length
- Synchronization -- Auto-resync
- User-specified number of 128 bit words containing 1 or more errors per word initiates a re-sync attempt

BERTScope Burst Analysis Timing – BERTScope word size is 128 bits. An example timing diagram is shown here for a PRBS payload. Counting of bits will not start until a 128-bit word boundary occurs, meaning that after the blanking pulse transitions, up to 127 bits may pass before synchronization begins. For a PRBS, synchronization typically takes 5 words, or 640 bits. Similarly, bit measurement will continue for up to 127 bits after the blanking signal transitions again. RAM-based patterns take longer to synchronize.
- Manual synchronization
- User initiates re-sync.
- Pattern matching synchronization
- Grab ‘n’ go
- Error Detector captures specified pattern length and compares next instances to find match (Fast method, but susceptible to ignoring logical errors).
- Shift-to-sync
- Error Detector compares incoming pattern with reference RAM pattern, looks for match, if none found shifts pattern by one bit and compares again (slower, but most accurate method).
- Error detector basic measurements
- BER, Bits Received, Re-syncs, Measured Pattern Generator and Error Detector Clock Frequencies
Error detector front panel connections
Error correlation marker input
- Allows an external signal to provide a time-tagged marker to be placed in the error data set.
- Logic family
- LVTTL (<0.5 V Low, >2.5 V High)
- Threshold
- +1.2 V
- Minimum pulse width
- 128 clock periods
- Maximum repetition rate
- 512 serial clock periods
- Maximum frequency
- <4000 markers/s recommended
- Interface
- BNC female, >1 kΩ impedance into 0 V
Blank input
- Useful for recirculating loop fiber experiments or during channel training sequences. Causes errors to be ignored when active. Bit count, error count, and BER not counted. No re-sync occurs when counting is re-enabled.
- Logic family
- LVTTL (<0.5 V Low, >2.5 V High)
- Threshold
- +1.2 V
- Minimum pulse width
- 128 clock periods
- Maximum repetition rate
- 512 serial clock periods
- Interface
- BNC female, >1 kΩ impedance into 0 V
Error output
- Provides a pulse when an error is detected. Useful for triggering an alarm while doing long-term monitoring.
- Minimum pulse width
- 128 clock periods
- Transition time
- <500 ps
- Output levels
- 1000 mV nominal (0 V to 1 V low-high)
- Interface
- SMA female
Trigger output
- Provides a pulse trigger to external test equipment. It has two modes:
Divided Clock Mode: Pulses at 1/256th of the clock rate.
Pattern Mode: Pulse at a programmable position in the pattern (PRBS), or fixed location (RAM patterns).
- Minimum pulse width
- 128 clock periods (Mode 1)
512 clock periods (Mode 2)
- Transition time
- <500 ps
- Output levels
- >300 mV amplitude, 650 mV offset
- Interface
- 50 Ω SMA female
Error detector rear panel connections
- Used to trigger the acquisition of incoming data into the Error Detector reference pattern memory. High level starts capture.
- Amplitude
- LVTTL (<0.5 V Low, >2.5 V High)
- Threshold
- +1.2 V
- Minimum pulse width
- 128 serial clock periods
- Minimum repetition rate
- 512 serial clock periods
- Interface
- SMA female, >1 kΩ impedance into 0 V
General specifications
All specifications are guaranteed unless noted otherwise. All specifications apply to all models unless noted otherwise.
PC-related specifications
- Display
- TFT touch screen 640×480 VGA
- Touch sensor
- Analog resistive
- Processor
- Pentium® P4 1.5 GHz or greater
- Hard disk drive
- 40 GB or greater
- DRAM
- 1 GB
- Operating system
- Microsoft Windows 7 Professional
- Remote control interfaces
- IEEE-488 (GPIB) or TCP/IP
- Supported interfaces
VGA display
USB 2.0 (6 total, 2 front, 4 rear)
100BASE-T Ethernet LAN
IEEE-488 (GPIB)
Serial RS-232
Physical characteristics
- Height
- 220 mm (8.75 in.)
- Width
- 394 mm (15.5 in.)
- Depth
- 520 mm (20.375 in.)
- Weight
- Instrument only
- 25 kg (55 lb.)
- Shipping
- 34.5 kg (76 lb.)
- Power
- 460 W
- Voltage
- 100 to 240 VAC (±10%), 50 to 60 Hz
Environmental characteristics
- Warm-up time
- 20 minutes
- Operating temperature range
- 10 °C to 35 °C (50 °F to 95 °F)
- Operating humidity
- Noncondensing at 35 °C (95 °F), 15 to 65%
- Certifications
- EU EMC Directive (CE-Marked), LVD Low Voltage Directive, US Listed UL61010-1, Canada Certified CAN/CSA 61010-1
Ordering information
BERTScope BSA series models
All Models Include: user manual, power cord, mouse, three (3) short low-loss cables
- BSA125C
- BERTScope 12.5 Gb/s Bit Error Rate Analyzer
- BSA175C
- BERTScope 17.5 Gb/s Bit Error Rate Analyzer
- BSA286CL
- BERTScope 28.6 Gb/s Bit Error Rate Analyzer
- BSA286CL-260 Opt: CA
- BERTScope OPTIONS; Conversion of a BSA260C to a BSA286CL (Serial number range from 280500 to 280633, minus 280619 & 280629)
- BSA286CL-260 Opt: CB
- BERTScope OPTIONS; Conversion of a BSA260C to a BSA286CL (Serial number range from 280634 to 280699, plus 280619 & 280629)
- BSA286CL-260 Opt: CC
- BERTScope OPTIONS; Conversion of a BSA260C to a BSA286CL (Serial number range from 280700 and higher)
Clock recovery instruments
- CR125A
- 12.5 Gb/s Clock Recovery Instrument
- CR175A
- 17.5 Gb/s Clock Recovery Instrument
- CR286A
- 28.6 Gb/s Clock Recovery Instrument
Digital pre-emphasis processors
- DPP125C
- 1-12.5 Gb/s 3-Tap and optional 4-Tap Digital Pre-emphasis Processor
Instrument options
BSA options
- Opt. F2
- F/2 Jitter Generation at 8G/10.3125G (requires STR)
- Opt. STR
- Stressed Signal Generation (includes option ECC, MAP, PL, XSSC, JTOL)
- Opt. XSSC
- Extended Spread Spectrum Clocking (SSC) (included in STR)
- Opt. PCISTR
- Add PCIe Gen2 Extended Stress Generation
- Opt. J-MAP
- Add Jitter Decomposition SW
- Opt. ECC
- Add Error Correction Coding Emulation SW (included in STR)
- Opt. JTOL
- Add Jitter Tolerance Templates SW (included in STR)
- Opt. LDA
- Add Live Data Analysis SW
- Opt. MAP
- Add Error Mapping Analysis SW (included in STR)
- Opt. PL
- Add Physical Layer Test Suite SW (included in STR)
- Opt. PVU
- Add PatternVu Equalization Processing SW
- Opt. SF
- Add Symbol Filtering option SW (used with STR)
- Opt. SLD
- Add Stressed Live Data option SW
- Opt. CA1
- Provides a single calibration event or coverage
- Opt. C3
- Calibration Service 3 Years
- Opt. R3
- Repair Service 3 Years (including warranty)
- Opt. R3DW
- Repair Service Coverage 3 Years (includes product warranty period). 3-year period starts at time of customer instrument purchase
Clock recovery instrument options
| Option | Description | CR125A | CR175A | CR286A |
|---|---|---|---|---|
| PCIE | PCIe PLL analysis (requires jitter spectrum option, operates at 2.5G and 5G only) | X | X | X |
| PCIE8 | PCIe PLL analysis (requires jitter spectrum option, operates at 2.5G, 5G, and 8G only) | X | X | X |
| HS | Add High Sensitivity Clock Recovery | X | X | |
| XLBW | Add Extended Loop Bandwidth in the Clock Recovery | X | X | X |
| 12GJ | Add 11.2G spectrum analysis to CR125A | X | ||
| 17GJ | Add 11.2G spectrum analysis to CR175A | X | ||
| 28GJ | Add 11.2G spectrum analysis to CR286A | X | ||
| CA1 | Provides a single calibration event or coverage | X | X | X |
| C3 | Calibration Service 3 Years | X | X | X |
| R3 | Repair Service 3 Years (including warranty) | X | X | X |
| R3DW | Repair Service Coverage 3 Years (includes product warranty period). 3-year period starts at time of customer instrument purchase | X | X | X |
Digital pre-emphasis processor options
- Opt. 4T
- 4-Tap Digital Pre-emphasis Processor
- Opt. ECM
- Eye Opener, Clock Multiplier, Clock Doubler
- Opt. CA1
- Single Calibration or Functional Verification
- Opt. C3
- Calibration Service 3 Years
- Opt. R3
- Repair Service 3 Years (including warranty)
- Opt. R5
- Repair Service 5 Years (including warranty)
- Opt. R3DW
- Repair Service Coverage 3 Years (includes product warranty period). 3-year period starts at time of customer instrument purchase.
Recommended accessories
- LE160/LE320
- 16 Gbps / 32 Gbps, 2-channel linear equalizers
- CR125ACBL
- High-performance Delay Matched Cable Set (required for BERTScope and CRU in SSC applications)
- 100PSRTFILTER
- 100 ps Rise Time Filter
- BSA12500ISI
- Differential ISI Board
- PMCABLE1M
- Precision Phase Matched Cable Pair, 1 m
- SMAPOWERDIV
- SMA Power Dividers
- BSARACK
- BSA-Rackmount Kits
- BSAUSB31
- Bundle of Instrument Switch with Cables and Automation Software (supports USB 3.1 5 & 10 Gb/s)
- BSAUSB3
- Bundle of Instrument Switch with Cables and Automation Software (supports USB 3.1 5 Gb/s)
- BSASWITCH
- Instrument Switch with Cables
- BSAUSB3SFT
- USB3 Automation Software







